MDX Technology, Inc.                                               
    22691 Lambert Street, Suite 510
    Lake Forest, CA 92630
   
Toll Free: 1-866-872-7810  Direct: 714-837-7080  admin@mdxinc.com

 

  MDX Technology Home Refurbished Instrument Instrument Repair Services

Instrument Service Parts

Chromatograpy Consumable On Site Engineer Service Tools and Devices    Request Quote Contact Us  

 

Agilent LC Shimadzu LC Waters LC Surveyor LC HP 5890 GC TraceGC HP GCMSD GCQ TraceMS DSQ  

 

AB API2000 AB Mariner TSQ7000 LCQ Series LTQ Series Quantum LTQ Orbitrap Q-Exactive Fusion TSQ 8000  

 

Shimadzu LC/MS 8010 TSQ Quantiva Endura Dionex Ultiimate             Misc.  

 

 

Applied Biosystem API2000, API3000, API4000 -- Diagnostic, Troulbeshoot and Services Parts

 
  • All items had refurbished and system level tested, meeting or surpassing functional specification and come with 30 days money back Warranty.

  • Exchange is trading defective part for fully refurbished replacement part and will provide Pre-paid shipping slip and please return defective unit back to us.

  • If can not find the parts you are looking for please Email admin@mdxinc.com or call Toll Free: 866-872-7810 Direct/Text 714-837-7080

  • For Inquire or Question please email admin@mdxinc.com or call Toll Free: 866-872-7810 Direct/Text 714-837-7080

  • For Ordering Via Paypay please provide PayPal email address Via (admin@mdxinc.com) will Check Stock and Provide you PayPal Invoice.            

  • For Ordering via Credit Card we can email you Credit Card Authorization form to authorize Credit Card payment.

 
 

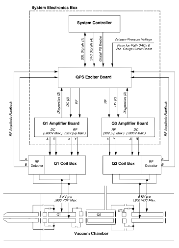
Applied Biosystem API2000 Block Diagram

 

                            

 

 

PCB's Cross Reference.....

 

 

 

 

 

 

 

 

          

 

 
  MDX-WC015017

OEM P/N:

WC015017 MDX-99999-88888

OEM P/N:

99999-88888  
  Description: REG Pressure Description: Source Holder  
Condition: New Condition: New  
         
Price: $85.00  Price: $128.00  

 

  MDX-017997

OEM P/N:

017997 MDX-015268

OEM P/N:

015268  
  Description: Assay Driver Switch Description: Glacier Toos and Fitting  
Condition: New Condition: New  
         
Price: $85.00  Price: $155.00  

 

  MDX-018714

OEM P/N:

018714 MDX-018864

OEM P/N:

018864  
  Description: Tip Probe T Description: Nozzle TIS Upgrade  
Condition: New Condition: New  
         
Price: $85.00  Price: $175.00  

 

  MDX-017773

OEM P/N:

017773 MDX-014551

OEM P/N:

014551  
  Description: Glacier Toos and Fitting Description: Vacuum Hose Fitting  
Condition: New Condition: New  
         
Price: $155.00  Price: $65.00  

 

  MDX-018784

OEM P/N:

018784 MDX-018913

OEM P/N:

018913  
  Description: O-ring 2mm ID 1mm WD Gas LineTIS Source Description: Turbolon Spray Electrode  
Condition: New Condition: New  
         
Price: $85.00  Price: $25.00  

 

  MDX-017765

OEM P/N:

017765 MDX-WC0178865

OEM P/N:

WC0178865  
  Description: Modified Quartz Tube Description: Sealing Gas connection O-Ring  
Condition: New Condition: New  
         
Price: $255.00  Price: $155.00  

 

  MDX-015523

OEM P/N:

015523 MDX-008029

OEM P/N:

008029  
  Description: Gas Optioin  TIS Regulator Assembly Description: CenteringRing KF 25  
Condition: New Condition: New  
         
Price: $85.00  Price: $155.00  

 

  MDX-99999-88888

OEM P/N:

99999-88888 MDX-99999-88888

OEM P/N:

99999-88888  
  Description: Quads Feed Through Description: Clippard Miniatic  
Condition: Refurbish Condition: New  
  System Level Tested      
Price: $125.00  Price: $155.00  

 

  MDX-99999-88888

OEM P/N:

99999-88888 MDX-027403

OEM P/N:

027403  
  Description: Electronic Multiplier Description: Assembly Holder Neb Turbo V 3200  
Condition: New Condition: New  
         
Price: $480.00  Price: $480.00  

 

  MDX-013569

OEM P/N:

013569 MDX-019404

OEM P/N:

019404  
  Description: Hot Cathode Tube Harness Description: O-Ring 3 3/4ID 3 3/32OD  
Condition: Refurbish Condition: New  
  System Level Tested      
Price: $135.00  Price: $50.00  

 

  MDX-015780

OEM P/N:

015780 MDX-017307

OEM P/N:

017307  
  Description: QPS Exciter Description: QPS Exciter  
Condition: Refurbish Condition: Refurbish  
  System Level Tested   System Level Tested  
Price: $485.00  Price: $485.00  

 

  MDX-1015495

OEM P/N:

1015495 MDX-021318

OEM P/N:

021318  
  Description: HVPS Description: System Control  
Condition: Refurbish Condition: Refurbish  
  System Level Tested   System Level Tested  
Price: $485.00  Price: $485.00  

 

  MDX-016181

OEM P/N:

016181 MDX-017303

OEM P/N:

017303  
  Description: DAC Vacuum Gauge Description: QPS Exciter  
Condition: Refurbish Condition: Refurbish  
  System Level Tested   System Level Tested  
Price: $485.00  Price: $485.00  

 

  MDX-016404

OEM P/N:

016404 MDX-019119

OEM P/N:

019119  
  Description: Lens PS Description: HVPS  
Condition: Refurbish Condition: Refurbish  
  System Level Tested   System Level Tested  
Price: $485.00  Price: $485.00  

 

  MDX-99999-88888

OEM P/N:

99999-88888 MDX-99999-88888

OEM P/N:

99999-88888  
  Description: API2000 Housing Holder Description: API3000 Housing Assembly  
Condition: Refurbish Condition: Refurbish  
  System Level Tested   System Level Tested  
Price: $1,050.00  Price: $1,280.00  

 

  MDX-99999-88888

OEM P/N:

99999-88888 MDX-WC018619

OEM P/N:

WC018619  
  Description: Heater Holder Description: API3000 Skimmer  
Condition: New Condition: New  
         
Price: $350.00  Price: $395.00  

 

  MDX-99999-88888

OEM P/N:

99999-88888 MDX-WC017960

OEM P/N:

WC017960  
  Description: Source Heater Description: Electron Multiplier  
Condition: New Condition: New  
         
Price: $580.00  Price: $1280.00  

 

  MDX-WC016948

OEM P/N:

WC016948 MDX-015021

OEM P/N:

015021  
  Description: Turbo Controller CT200 ECE Description: Signal Handling Board  
Condition: Refurbish Condition: Refurbish  
  System Level Tested   System Level Tested  
Price: $480.00  Price: $385.00  

 

  MDX-015139

OEM P/N:

015139 MDX-1021561

OEM P/N:

1021561  
  Description: Temperature Control Board Description: Temperature Control PCB  
Condition: Refurbish Condition: Refurbish  
  System Level Tested   System Level Tested  
Price: $425.00  Price: $425.00  

 

  MDX-99999-88888

OEM P/N:

99999-88888 MDX-99999-88888

OEM P/N:

99999-88888  
  Description: Turbo Spray Probe Assembly Description: API2000 Turbo TW220 150S  
Condition: Refurbish Condition: Refurbish  
  System Level Tested   System Level Tested  
Price: $985.00  Price: $1,750.00  

 

  MDX-99999-88888

OEM P/N:

99999-88888 MDX-99999-88888

OEM P/N:

99999-88888  
  Description: API3000 Fan with Cover x3 Description: API4000 Turbo TV551 Nevigator  
Condition: Refurbish Condition: Refurbish  
  System Level Tested   System Level Tested  
Price: $95.00  Price: $1,750.00